MailABC 工具列表
- MailABC DNS在线查询工具
- MailABC SPF记录检查
- MailABC DKIM记录检查
- MailABC DMARC记录检查
- MailABC SPF记录生成器
- MailABC DKIM记录生成器
- MailABC DMARC记录生成器
- MailABC 邮件信头分析工具
MailABC DNS查询工具
工具简介:该工具可以用于查询域名解析记录,支持查询A、AAAA、CNAME、MX、TXT、PTR、NS等记录,可以选择不同的DNS服务器进行查询。
工具入口:MailABC DNS在线查询工具
界面概览:
查询结果示例:
MailABC SPF记录检查工具
工具简介:检查域名的psf记录设置,可以对spf记录进行扁平化输出。
工具入口:MailABC SPF记录检查
界面概览:
树状解析输出示例:
扁平化输出示例:
MailABC DKIM记录检查工具
工具简介:该工具用于检查域名的DKIM记录设置是否正确。
工具入口:MailABC DKIM记录检查
界面概览:
输出结果示例:
MailABC DMARC 记录检查工具
工具简介:该工具主要用于检查域名的DMARC记录设置是否正确。
工具入口:MailABC DMARC记录检查
界面概览:
输出结果示例:
MailABC SPF记录生成工具
工具简介:该工具主要用于在线生成 SPF 记录,配置发件人策略框架,提高邮件投递率并防止欺诈。
工具入口:MailABC SPF记录生成器
界面概览:
生成结果示例:
MailABC DKIM记录生成工具
工具简介:该工具是根据您的域名生成DKIM记录,生成的DKIM记录需要添加到您的DNS记录中。本站不会保存生成的公钥和私钥信息,请放心使用。
工具入口:MailABC DKIM记录生成器
界面概览:
生成结果示例:
MailABC DMARC记录生成工具
工具简介:本工具用于在线生成 DMARC 记录,配置发件人策略框架,提高邮件投递率并防止欺诈。
工具入口:MailABC DMARC记录生成器
界面概览:
生成结果示例:
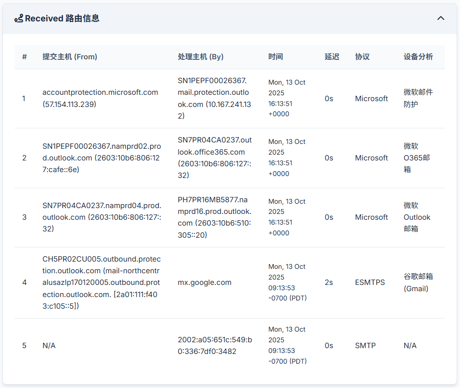
MailABC 邮件头分析工具
工具简介:本工具专注于邮件头在线分析,支持查看邮件传输全程的路由跳数、节点延时及处理主机的厂商信息,同时可校验邮件是否通过 SPF、DKIM、DMARC 安全协议认证,并支持解析各类信头字段的具体含义。
工具入口:MailABC 邮件信头分析工具
界面概览:
分析结果示例:
更多工具持续开发中。



















